我们知道电力电缆的安全性能是相当重要的,因此,我们要对电力电缆在正式投运前进行一些绝缘试验,以避免一些意外事故的发生,今天中试控股我们就来学习一下绝缘试验中常见的两种试验方法吧!
一、解析直流耐压试验
有些新入门的电工可能会好奇为什么交流电力电缆要用用直流来作工频耐压试验呢?原因是电力电缆有比较大的电容,然而,如果想在试验现场运用很大容量的试验变压器的话,这是很不容易并且十分不现实的,因此,要进行直流耐压试验,目的就是为了有效地将试验电源的容量大大减小。
当我们在进行直流耐压试验的时候,通常使用到的高压试验设备是直流高压发生器,并且往往都会采用半波整流电路。当我们决定使用直流高压发生器做试验时,可以不用再装设滤波电容了,因为前面我们说过电力电缆的容量本来就很大了。
针对那些不低于35千伏的电缆,试验电源使用的倍压整流的方法,而且在试验的过程中对泄漏测流进行测量的时候,我们可以把微安表装接在低电位的那一端,当然,你也可以将其接在高电位端。
那么直流试验与交流试验对设备带来的影响有何不同呢?首先,中试控股前者肯定比后者给被试验的设备带来的剩余破坏要少许多,举个例子,就像直流试验会因局部放电等所造成的的损耗要比交流试验少。但是直流试验也是有缺陷的,比如它与交流试验相比的话,就不是那么的真实与严格。当串联介质在进行交流试验的时候,场强分布和它的介电常数的关系是呈负相关的,但是,当你施加直流的情况下,它的场强分布就会和电导率成反比。
综上所述,我们可以得出,当我们在对电缆进行直流耐压试验的时候,要做好以下两点:首先,是要适当地将试验电压提高;其次,就是将外施电压的时间加以延长。
通常情况下,电缆绝缘在直流电压作用下的耐电强度要远远大于交流的作用,并且大概是1倍左右,一般是在400千伏每厘米到600千伏每厘米之间,由此可知,直流试验电压差不多是交流试验电压的2倍以上。
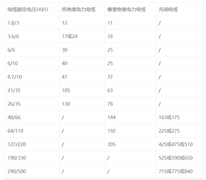
当我们对电力电缆进行直流耐压试验的时候,通常不会超过五分钟,它的缺陷就会统统显露出来,而且按照相关的规定,我们进行次试验的时间往往不能持续超过15分钟。各类绝缘电力电缆的直流耐压试验和泄漏电流试验所规定的标准电压如下表:
电缆直流耐压和泄漏电流试验电压(kV)
(1)其实,电缆的直流击穿强度和电压极性是存在一定的关系的。当我们在试验的时候,通常情况下,电缆芯都是接负极,反之,若接正极的时候,击穿电压就会高出接负极时的百分之十以上。
(2)当温度不低于二十五度时,每升高一度就会使击穿电压降低百分之零点五四。
(3)进行完电缆直流耐压或泄漏电流试验后,应牢记先用100~200kΩ的限流电阻充分放电,然后还要对地直接放电,并保持足够的接地时间。
二、精讲泄漏电流测量技术
(1) 我们知道,若是一根电缆的绝缘性能很好的话,那么它的泄漏电流往往不会很大,通常情况下都是几微安,或者是几十微安。中试控股有时候会因为试验变压器用高压引线等杂散电流,这回带来一些影响,会使在我们把微安表接在低电位端的时候,造成测试的结果不对,甚至有的时候这个误差会很大!
(2) 当我们用微安表测量泄漏电流的时候要把它接在高电位端,还要将测量微安表到引线的那一端,以及到电缆两端头的都要屏蔽起来,针对整盘的电缆我们可用下图的接线方法。如图,这里微安表以及它到被试验设备引线都采用的是金属屏蔽罩屏蔽,然而,对电缆两端头则采用屏蔽帽和屏蔽环屏蔽,并且屏蔽和引线之间不需要很高的绝缘。
测量直流泄漏电流时的屏蔽方法
1—微安表屏蔽罩;2—屏蔽线;3—端头屏蔽帽;4—屏蔽环
(3) 但是,有时候试验现场的情况并不是都如上面我们所说的,情况是不定的,有时候电缆的两头距离会非常的远,从而导致它们无法连接,因此,我们不能用我们上面所说到的方法。有的时候运行单位采用的是借用三相电缆中的另一相作为两端屏蔽连线,然而,因为我们要测量的泄漏电流也包含了另一相的泄漏电流,而且各相都承受了两次耐压,所以采用这种方法的等效性是有待商榷的。
如下图,当试验现场选择用两端一起测量的方式时,中试控股我们需要在不是高压电源的那一端加设一个微安表,这就可以实现将两端的泄漏电流值一起被记录下来的目的。而这个时候高压电源端测得的泄漏电流不仅是此端的电流,而且还包括了电缆绝缘的泄漏电流和表面泄漏电流、杂散电流,而另一端测量的是表面泄漏电流和杂散电流等,从而电缆的泄漏电流为两者的差。
两端同时测量泄漏电流的接线
除此之外,还另一种使用的方法久是放置一个绝缘板在施加电压相和非施加电压相之间,又或者是把绝缘手套套在了施加电压的那一相电缆终端上,这就可以实现改善局部电场分布的目的,从而电晕的影响大大减小。

服务理念
湖北中试高测电气控股有限公司始终坚持"精心打造精品、优质回报客户"的宗旨,并严格执行《售后服务承诺书》,我们深信优质、系统、全面、快捷的服务是事业发展的基础。建立完善的销售服务机制,将销售服务工作纳入企业管理范畴,坚持常抓不懈;
主动服务
公司作为领先高新技术企业是电力检测仪器和高压试验设备的研制厂商,是电力、水利、石油、铁路、矿山等相关领域试验解决方案产品的供应商。用心去感知,帮助客户降低成本、提高效率。满足客户的服务期望,不断引导、开发和创造客户消费需求;
差异化服务
公司细分供电系统、发电系统、用电单位和科研院所等,精心设计针对性营销服务方案,打造具有竞争力的客户和业务品牌。秉承"服务为本、诚信经营"的方针,完善服务系统,加强售前、售中、售后服务,对不同地域客户在诸多现场使用产品出现的各种问题及时帮助解决,使用户感到极大方便;
高效服务
高效的服务为公司迎来效益,同时我们以服务促发展,以客户为中心的服务体系,建立健全营销渠道,优化服务流程,改善支撑手段,赢得了广大客户的信任,产品和服务赢得至高市场荣誉;
优质服务
公司推崇5S服务理念,引领服务先进理念,以亲和、细致的服务感动客户,尊重客户,理解客户,持续提供超越客户期望的产品与服务,竭尽所能诚信天下,做客户们永远的伙伴。
服务流程
我们严格执行《售后服务承诺书》,我们深信优质、系统、全面、快捷的服务是事业发展的基础。经过多年的不断探索和进取,我们形成了"以客户为核心、以质量为企业的第一生命"的服务理念。并以严格的管理、先进的技术创建国内一流的服务企业为目标,制定了规范管理制度,严格过程控制,保证产品质量,达到顾客满意的质量方针,坚持"用户第一"的原则,构建良好的销售服务体系,为客户提供优质的售前、售中及售后服务!
1. 尊敬的的用户,不论您有何种需求:只要您拨打湖北中试高测电气控股有限公司统一服务热线 027-83982728 剩下的事有我们来做;
2. 我们的服务专员将会给您提供专业的产品咨询和技术解答;
3. 了解您的诉求,建立产品服务记录,并与您协商确定售后服务方式;
4. 如有需要,我们会第一时间安排专业的技术工程师按与您约定的时间准时到达试验现场;
5. 工程师将向您详细地讲解产品的工作原理和实验操作步骤;
6. 工程师将现场指导您完成整个试验过程,并对您提出的技术问题给予专业的解答;
7. 工程师还会为您购买的武汉中试产品进行全面检测,如有故障,将一并解决;
8. 服务完成后请您对我们的服务提出宝贵的意见或建议,服务信息将同步到售后服务中心;
9. 售后服务中心将积极跟进服务进度,并定期跟踪回访。
售后服务承诺书
一、售前服务承诺
1. 提供专业咨询。在2小时之内答复您提出的专业技术问题;
2. 提供详细资料。在4小时之内将您所需要的技术资料邮出,并争取您能在两日内收到;
3. 提供合理报价。在2小时之内为您提供合理报价;
4. 提供考察接待。随时接待您的考察,并尽力为您的考察工作提供各种便利条件。
二、售中服务承诺
1. 采用全国统一的《工业品买卖合同》与您签订合同和技术协议;
2. 自觉遵守合同法的规定,确保合同及技术协议顺利履行;
3. 竭力按时按量为您提供优质产品,并采用最优运输方式,确保您收到货物完好无缺;
4. 积极与使用人员沟通,尊重用户安排,为用户提供周到的技术支持;
5. 按合同的规定为您提供送检、安装、调试及培训等服务;
6. 无论合同大小,所有客户在价格及服务方面都是公平的。
三、售后限时服务承诺
1. 我们将按照客户的要求提供相关的技术培训和技术资料;
2. 产品有质量问题,三年免费保修,终生维护,有合同约定的按合同约定;
3. 我们保证在15分钟内进行电话指导,由您自行排除设备的简单故障;
4. 对于10公斤以下的仪器,在两日内排除故障或提供新的设备供您暂时使用,直到损坏设备修好为止;
5. 对于10公斤以上的仪器,在三日内排除故障或提供新的设备供您暂时使用,直到损坏设备修好为止;
6. 我们对所销售的设备3年免费维护,终生维修,长期提供备品备件,软件免费升级,有合同约定的除外。
服务相关说明
1. 我公司愿为用户提供各种技术咨询,当好参谋,并提供有关技术资料,如产品样本、图片、产品说明书;
2. 对于用户来电、来函及来人询价访问,我公司将热情接待,及时给予答复;
3. 我公司配有送货专车,对于客户确定合作之后,我们会选择合理的物流送货方式将产品安全送达规定地点;
4. 产品在运送过程中,如果由于运输原因,致使产品损坏,我公司将与用户协商解决办法,直到达到用户满意为止;
5. 产品在货物送达时,经验货如果发现有漏货、错货或短货等数量上问题,在接到通知后,将立即派人到现场进行服务和处理;
6. 在用户使用过程中,如果发现由于我公司方面的责任引起的产品质量问题,我公司在接到通知后,保证在1小时内作出答复;对需要派工程师处理的,保证立即指派技术人员到达现场排除问题,不需要到现场服务的,一定当好参谋,为用户提供最佳处理方案;
7、我公司派人到用户现场服务的,应与用户电话商定到达日期,假如由于某种客观原因,不能如期到达,必须事前通知用户,并说明原因或采取相应措施,保证用户不受损失或把损失降到最低程度。